
本实用新型涉及阀体技术领域,尤其涉及一种蝶阀。
背景技术:
在工业流体管道系统中,蝶阀作为调节流体流量的设备而普遍应用。但是目前的蝶阀通常为单向密封,密封效果较差;另外,目前的蝶阀承受的压力较低,进而导致寿命较短。
技术实现要素:
本实用新型的目的是提供一种蝶阀,以解决目前的蝶阀存在的密封效果较差及压力较小的问题。
为了实现上述目的,本实用新型提供如下技术方案:
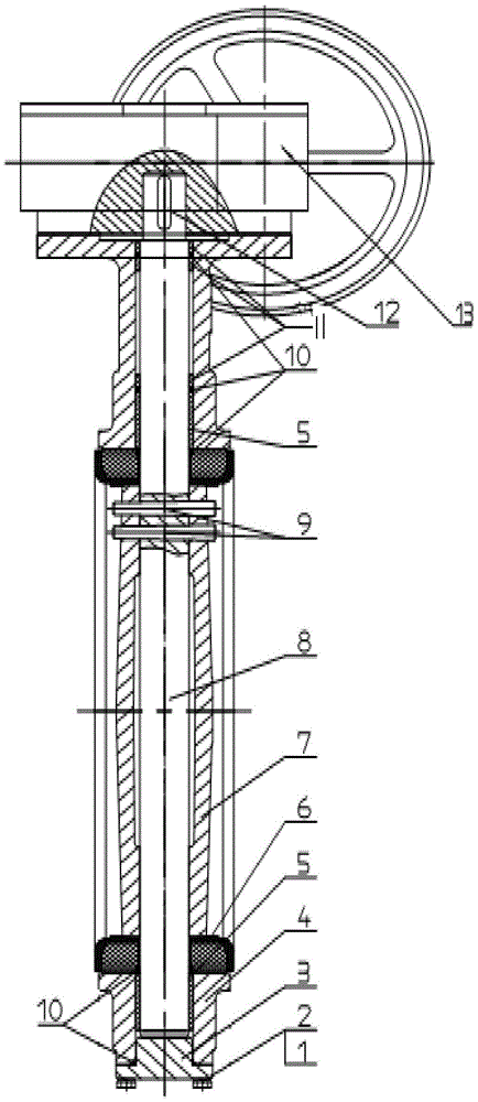
一种蝶阀,包括阀体、阀轴、阀座和阀板;其中,所述阀体设置有过流孔;所述阀座套设于所述过流孔的内壁;所述阀轴依次穿过阀体和所述阀座,且与所述阀板固定相连;所述阀板设置于所述过流孔,且与所述阀座密封配合;所述阀轴与所述阀体和所述阀座均转动配合以驱动所述阀板对过流孔的通闭;所述阀体和所述阀板的材质均为球墨铸铁;所述阀座为弹性材质,且与所述阀板弹性贴合。
优选的,上述蝶阀中,所述阀轴的操作端设置有蜗轮蜗杆驱动机构;所述蜗轮蜗杆机构用于驱动所述阀轴转动。
优选的,上述蝶阀中,所述阀轴的顶端与所述阀体及所述蜗轮蜗杆机构的外壳之间,以及所述阀轴的底端与所述阀体的之间均设置有衬套。
技术特征:
1.一种蝶阀,其特征在于,包括阀体、阀轴、阀座和阀板;其中,所述阀体设置有过流孔;所述阀座套设于所述过流孔的内壁;所述阀轴依次穿过阀座和所述阀座,且与所述阀板固定相连;所述阀板设置于所述过流孔,且与所述阀座密封配合;所述阀轴与所述阀体和所述阀座均转动配合以驱动所述阀板对过流孔的通闭;所述阀体和所述阀板的材质均为球墨铸铁;所述阀座为弹性材质,且与所述阀板弹性贴合。
2.如权利要求1所述的蝶阀,其特征在于,所述阀轴的操作端设置有蜗轮蜗杆驱动机构;所述蜗轮蜗杆机构用于驱动所述阀轴转动。
3.如权利要求2所述的蝶阀,其特征在于,所述阀轴的顶端与所述阀体及所述蜗轮蜗杆机构的外壳之间,以及所述阀轴的底端与所述阀体的之间均设置有衬套。
4.如权利要求1所述的蝶阀,其特征在于,所述阀板设置有连接腔,所述阀轴穿设于所述连接腔,且通过销钉固定相连。
5.如权利要求1所述的蝶阀,其特征在于,所述过流孔的横截面为圆形,所述阀板为圆盘状。
6.如权利要求1所述的蝶阀,其特征在于,所述阀座由橡胶材质制成。
7.如权利要求1所述的蝶阀,其特征在于,所述阀板的表面具有镀镍层。
8.如权利要求1-7中任意一项所述的蝶阀,其特征在于,所述阀座的材质为丁晴橡胶或三元乙丙橡胶。