一种分段式船用阀门的制作方法
栏目:公司动态 发布时间:2021-06-07
一种分段式船用阀门的制作方法
一种分段式阀门的制作方法与工艺

本发明创造属于阀门技术领域,尤其是涉及一种分段式船用阀门



背景技术:

调压阀是一种通过控制内部启闭件的开度来调节介质的流量,通过调节流量来将介质的压力降低,同时借助阀后压力的作用调节启闭件的开度,使阀后压力保持在一定范围内,在进口压力不断变化的情况下,保持出口压力在一个较小范围内波动的阀门,通常管道中都需要安装调压阀来泄压以保护管道和设备不被高压损坏,调压阀广泛用于高层建筑、城市给水管网水压过高的区域、矿井及输送天然气管道等场合,以保证获得适量的介质流量和压力,为了操作和维护方便,调压阀一般直立安装在水平管道上,安装时应注意使管路中介质的流向与阀体上所示箭头的方向一致,现有的调压阀多为两段式,加工不便,且蜗杆向里旋进时内腔的压力会逐渐增大,导致阀杆难以继续向里。



技术实现要素:

有鉴于此,本发明创造旨在提出一种大中型三段式调压阀门,能消除因内外压力不同造成阀门推杆的变形,且所述三段式阀门加工制造容易,成本低。

为达到上述目的,本发明创造的技术方案是这样实现的:

一种三段式调压阀门,包括阀首、阀体和阀尾,所述阀首、阀体和阀尾依次连接,所述阀首和阀尾自由端设有与管道配合的法兰结构,所述阀体上部为一凸台,凸台上安装调压阀电动执行器,所述阀体内部设有四个肋板,呈90度角环列,所述第四肋板开有通孔,第二肋板设有盲孔,第四肋板通孔与第二肋板盲孔相通,孔内设有推杆,所述第一肋板设有中腔倒流孔,用作平衡推杆所在腔体与外界的压力,所述四个肋板与阀体内腔相接,四个肋板间隙形成流体通道,四个肋板中心设有阀杆腔体,阀杆腔体轴线与四个肋板所在平面垂直,所述阀体的阀首端设有导流罩,导流罩防止流体流入阀杆腔内,所述阀杆腔体内设有阀杆,所述阀杆与推杆为蜗轮蜗杆式连接,所述推杆外端与调压阀电动执行器相接,所述阀杆自由端与阀芯连接,阀尾内设有套筒结构件,阀芯设置与套筒内且与套筒紧密且无缝隙配合用于调节流量,所述套筒为有孔网结构件,所述阀芯为空心柱体结构件。

进一步的,所述第一肋板上也设有中腔倒流孔,与第三肋板上的中腔倒流孔共同平衡推杆所在腔体与外界的压力。

进一步的,所述套筒包括内套筒和外套筒,内套筒置于外套筒内,内套筒与外套筒间有空隙。

进一步的,所述套筒里端与阀座相抵接,套筒外端设有止动套,止动套将套筒限制于阀尾内。

进一步的,所述阀体中部实体部设有连接阀芯内与第四肋板通孔相通的中腔倒流孔,所述阀座腔倒流孔与中腔倒流孔互通,使阀杆、推杆均处于与外界压力平衡状态下,避免因阀座内密封造成的调节费力的问题。

进一步的,阀首和阀体、阀尾和阀体之间使用栽丝装配。

进一步的,所述调压阀电动执行器与阀体之间用O型密封圈加以密封,防止天然气泄漏,所述阀杆与导套、导套与阀体、导套与导流罩之间均安装有平衡密封圈,止动套与外套筒的连接处安装平衡密封圈,止动套与内套筒的连接处安装有密封垫与平衡密封圈,阀芯与阀体的端面之间使用平衡密封圈。

相对于现有技术,本发明创造所述的三段式调压阀具有以下优势:

本发明创造能够有效平衡阀杆、推杆与外界的压力,防止调节过程中出现的费力甚至结构件变形的缺陷,同时三段式的结构易于制造加工,装配简单,成本低。

附图说明

构成本发明创造的一部分的附图用来提供对本发明创造的进一步理解,本发明创造的示意性实施例及其说明用于解释本发明创造,并不构成对本发明创造的不当限定。在附图中:

图1为本发明创造实施例所述的阀门体主剖视图;

图2为本发明创造实施例所述的肋板示意图;

图3为本发明创造实施例所述的阀门体俯剖视图;

图4为本发明创造实施例所述的流道示意图。

附图标记说明:

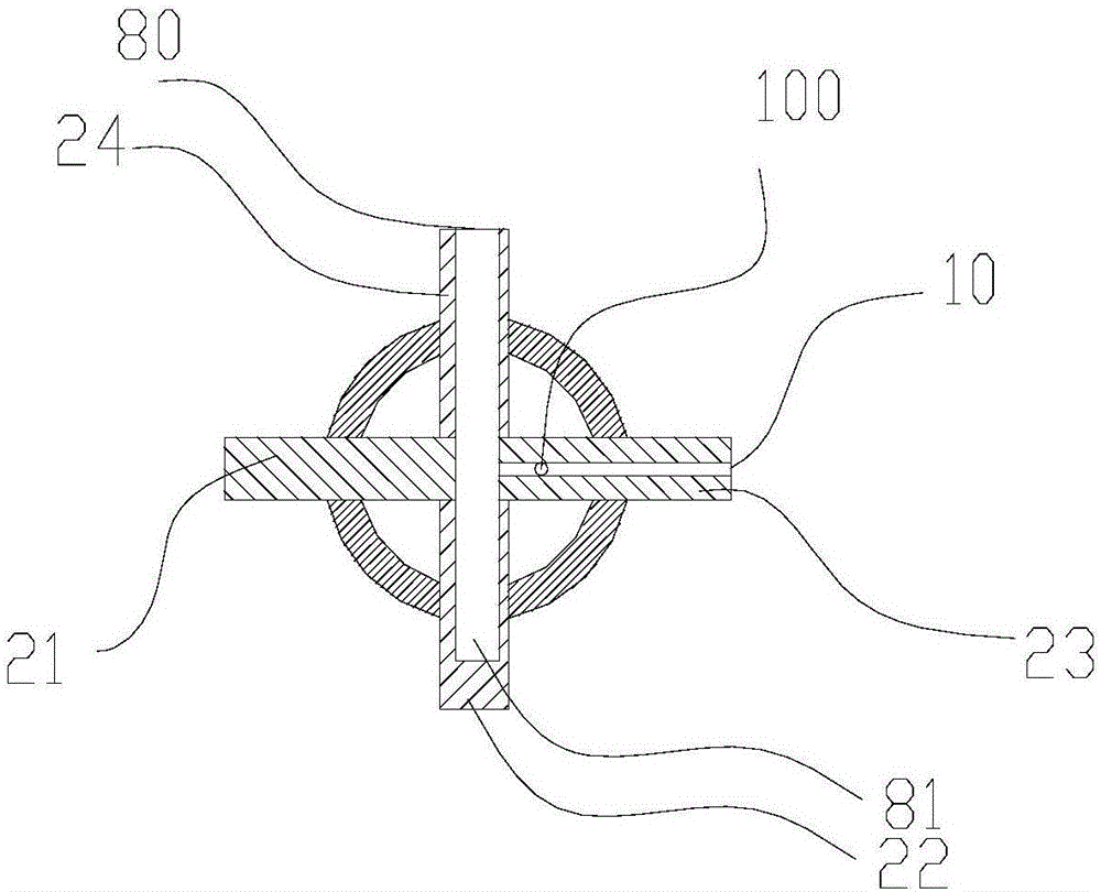
1-阀首;2-阀体;21-第一肋板;22-第二肋板;23-第三肋板;24-第四肋板;3-阀尾;4-阀杆;405-阀芯;5-内套筒;6-外套筒;56-止动套;7-调压阀电动执行器;8-推杆;80-第四肋板通孔;81-第二肋板盲孔;9-导流罩;10-中腔倒流孔;100-阀座腔倒流孔。

具体实施方式

需要说明的是,在不冲突的情况下,本发明创造中的实施例及实施例中的特征可以相互组合。

在本发明创造的描述中,需要理解的是,术语“中心”、“纵向”、“横向”、“上”、“下”、“前”、“后”、“左”、“右”、“竖直”、“水平”、“顶”、“底”、“内”、“外”等指示的方位或位置关系为基于附图所示的方位或位置关系,仅是为了便于描述本发明创造和简化描述,而不是指示或暗示所指的装置或元件必须具有特定的方位、以特定的方位构造和操作,因此不能理解为对本发明创造的限制。此外,术语“第一”、“第二”等仅用于描述目的,而不能理解为指示或暗示相对重要性或者隐含指明所指示的技术特征的数量。由此,限定有“第一”、“第二”等的特征可以明示或者隐含地包括一个或者更多个该特征。在本发明创造的描述中,除非另有说明,“多个”的含义是两个或两个以上。

在本发明创造的描述中,需要说明的是,除非另有明确的规定和限定,术语“安装”、“相连”、“连接”应做广义理解,例如,可以是固定连接,也可以是可拆卸连接,或一体地连接;可以是机械连接,也可以是电连接;可以是直接相连,也可以通过中间媒介间接相连,可以是两个元件内部的连通。对于本领域的普通技术人员而言,可以通过具体情况理解上述术语在本发明创造中的具体含义。

下面将参考附图并结合实施例来详细说明本发明创造。

如图1、2、3所示,一种三段式调压阀门,包括阀首1、阀体2和阀尾3,所述阀首1、阀体2和阀尾3依次连接,所述阀首1和阀尾3自由端设有与管道配合的法兰结构,所述阀体2上部为一凸台,凸台上安装调压阀电动执行器7,所述阀体2内部设有四个肋板,呈90度角环列,所述第四肋板24开有通孔,第二肋板22设有盲孔,第四肋板通孔80与第二肋板盲孔81相通,孔内设有推杆8,所述第三肋板23设有中腔倒流孔10,用作平衡推杆8所在腔体与外界的压力,所述四个肋板与阀体2内腔相接,四个肋板间隙形成流体通道,四个肋板中心设有阀杆腔体,阀杆腔体轴线与四个肋板所在平面垂直,所述阀体2的阀首1端设有导流罩9,导流罩9防止流体流入阀杆腔内,所述阀杆腔体内设有阀杆4,所述阀杆4与推杆8为蜗轮蜗杆式连接,所述推杆8外端与调压阀电动执行器7相接,所述阀杆4自由端与阀芯405连接,阀尾3内设有套筒结构件,阀芯405设置与套筒内且与套筒紧密且无缝隙配合用于调节流量,所述套筒为有孔网结构件,所述阀芯405为空心柱体结构件。

最佳的,所述阀体2中部实体部设有连接阀芯405内与第四肋板通孔80相通的阀座腔倒流孔100,所述阀座腔倒流孔100与中腔倒流孔10互通,使阀杆4、推杆8均处于与外界压力平衡状态下,避免因阀体2内密封造成的调节费力的问题;所述第一肋板21上也设有中腔倒流孔10,与第三肋板23上的中腔倒流孔10共同平衡推杆8所在腔体与外界的压力,图中未示。

最佳的,所述套筒包括内套筒5和外套筒6,内套筒5置于外套筒6内,内套筒5与外套筒6间有空隙。

最佳的,所述套筒里端与阀座1相抵接,套筒外端设有止动套56,止动套56将套筒限制于阀尾3内。

最佳的,阀首1和阀体2、阀尾3和阀体1之间使用栽丝装配。

最佳的,所述调压阀电动执行器7与阀体2之间用O型密封圈加以密封,防止天然气泄漏,所述阀杆4与阀杆腔体、阀杆腔体与导流罩9之间均安装有平衡密封圈,止动套56与外套筒6、内套筒5的连接处安装平衡密封圈,阀芯405与阀体2的端面之间使用平衡密封圈。

所述发明创造的工作原理:将阀首1、阀尾3分别与阀体2两端栽丝配合或在不受干涉的情况下用螺栓固定连接,将阀首1的外端、阀尾3的外端分别与管道相连接,如图4所示,流体的流动方向如图中箭头所示,流体从阀首1端流入,经过四个肋板间的流体通道流向阀尾3,在经过套筒结构流出,调节阀芯405与套筒的接触面积,从而使流体经过未与阀芯405紧密配合的部分套筒网孔,进而实现流体压力的调节;阀体2上的阀座腔倒流孔100与中腔倒流孔10能够平衡阀杆4和推杆8与外界的压力,使其在平衡的压力下轻松调节推杆8,不至于费力且造成推杆8的变形。

以上所述仅为本发明创造的较佳实施例而已,并不用以限制本发明创造,凡在本发明创造的精神和原则之内,所作的任何修改、等同替换、改进等,均应包含在本发明创造的保护范围之内。

 

Baidu
map