
本方法适用新型涉及蝶阀技术领域,具体为一种新型气动式蝶阀。
背景技术:
气动蝶阀是由气动执行器和蝶阀组成,气动蝶阀是用随阀杆转动的圆形蝶板做启闭性,以实现启用动作的气动阀门,主要做截断阀使用,亦可设计成具有调节或段阀兼调节的功能,目前蝶阀在低压大中口径管道上的使用越来越多,气动蝶阀分类:不锈钢气动蝶阀,硬密封气动蝶阀,软密封气动蝶阀,碳钢气动蝶阀。
1、现有的气动式蝶阀通常通过法兰进行固定,当需要对蝶阀进行拆卸维修时,将法兰上的螺栓拆下,即可将蝶阀拆卸,但是蝶阀通常设置在潮湿的环境中,长时间会对螺栓和法兰造成腐蚀,影响拆卸,导致蝶阀不能顺利拆开进行维护;
2、现有的气动式蝶阀的阀杆在工作中由于自身频繁转动,导致阀杆与阀体之间容易发生偏离,造成蝶板开启容易卡死,影响蝶阀的使用寿命。
技术实现要素:
(一)解决的技术问题
针对现有技术的不足,本实用新型提供了一种新型气动式蝶阀,解决了现有的气动式蝶阀厂家的法兰和螺栓容易受到腐蚀影响其拆卸的问题。
(二)技术方案
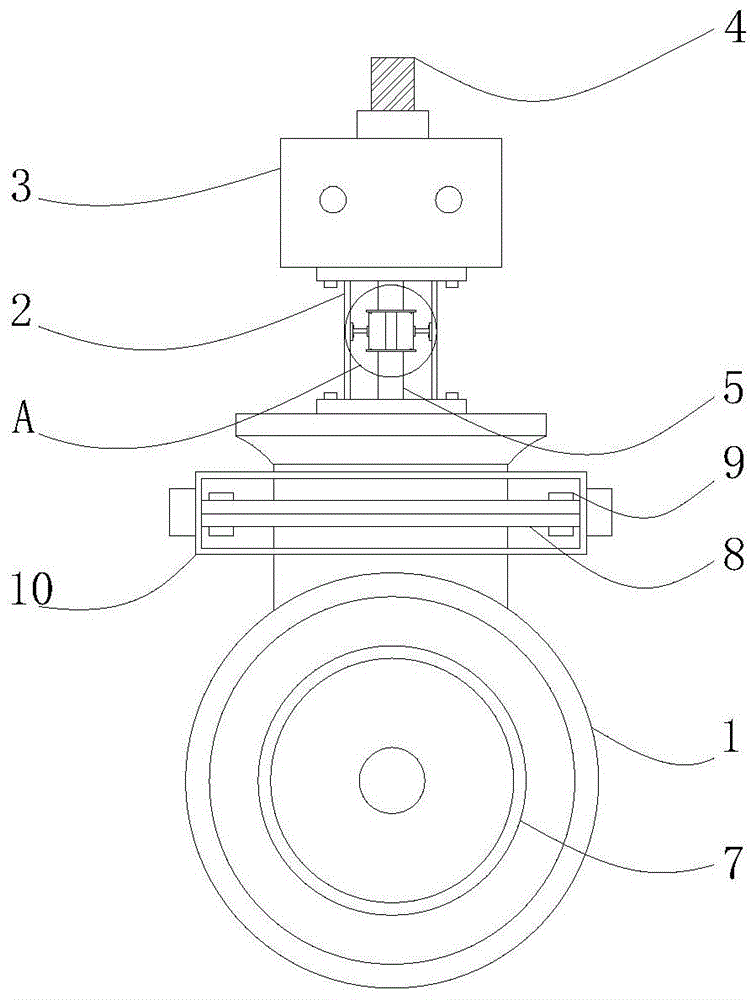
为实现上述目的,本实用新型提供如下技术方案:一种新型气动式蝶阀,包括蝶阀本体、阀体、气动执行器、旋转开关、阀杆、夹持装置、蝶板、法兰、螺栓和防腐蚀装置,所述阀体固定安装在蝶阀本体的上端,所述气动执行器固定安装在阀体的上端,所述旋转开关转动连接在气动执行器的上端,所述阀杆固定安装在旋转开关的下端,所述夹持装置套设在阀杆的外表面,所述蝶板固定安装在阀杆的下端,所述法兰固定连接在蝶阀本体和阀体之间,所述螺栓贯穿设置在法兰之间,所述防腐蚀装置套设在法兰的外表面。
所述防腐蚀装置包括第一外壳,所述第一外壳的前端固定安装有第二外壳,所述第一外壳和第二外壳之间贯穿设置有插杆,所述插杆上端的内部固定安装有弹簧,所述弹簧的一端固定安装有推杆,所述推杆的一端固定安装有卡块,所述第一外壳和第二外壳的内侧均开设有通槽。
1、作为本实用新型的一种优选技术方案,所述夹持装置包括连接杆,所述连接杆的一端固定安装有金属套环,所述金属套环的内侧涂有耐磨层。
2、作为本实用新型的一种优选技术方案,所述耐磨层为耐磨陶瓷涂料,所述金属套环为钢材质。
3、作为本实用新型的一种优选技术方案,所述第一外壳的两侧均开设有插槽,所述插杆的形状大小与插槽之间相适配。