
本实用新型涉及一种蝶阀,具体涉及一种在阀板上安装垫片的蝶阀,属于蝶阀技术领域。
背景技术:
蝶阀是用圆盘式启闭件往复回转90°左右来开启、关闭或调节介质流量的一种阀门。蝶阀不仅结构简单、体积小、重量轻、材料耗用省、安装尺寸小、驱动力矩小、操作简便、迅速,并且还可以同时具有良好的流量调节功能和关闭密封特性,是近十几年来发展最快的阀门品种之一。
由于开启、关闭的方式来输送流量,在开启的状态下,蝶阀中的阀板为打开状态,但是气体的冲击力可能会使阀板来回晃动,更有可能导致关闭阀板,造成气体输送不顺畅的问题。
技术实现要素:
本实用新型的目的是提供一种阀板不会晃动的高性能蝶阀,可以在开启的状态下顺利输送气体。
为了达到上述技术目的,本实用新型的技术方案是提供了高性能蝶阀,包括阀体、阀座、阀板,所述阀体为环状,所述阀体内套设有阀座,所述阀板通过阀杆活动的设于阀座内,所述阀板上设有镂空的孔洞,所述阀板的一侧设有垫片,所述垫片上设有与阀板对应的孔洞。
优选地,所述垫片活动的设置在阀板上,通过垫片把手在阀板上旋转。
优选地,所述垫片上设有橡胶垫把手,所述阀体上设有与橡胶垫把手相对应的条状孔,用于橡胶垫把手在该条状孔内滑动,以达到阀板上的孔洞开启和关闭的作用。
优选地,所述阀杆通过固定板设置在阀板的另一侧。
优选地,所述垫片的材质为橡胶垫片。
优选地,所述阀体的上下设有挂耳。
优选地,所述阀杆上设有阀杆套,起到密封作用。
优选地,所述阀杆与手动转盘相连。
本实用新型通过在阀板上设置贯穿的通孔,可以使气流畅通无阻,也不会造成阀板的晃动,当关闭阀板上的垫片时,能起到良好的密封作用,垫片是活动的设置在阀板上的,所以开启和关闭可以自由控制。本实用新型结构简单,使用方便,不但在阀板关闭时放置了气流的泄漏,也可以使阀板开启时气流更顺畅,阀板也不会受气流的波动而晃动。
附图说明
图1为本实用新型提供的高性能蝶阀提供的结构示意图;
图2为本实用新型提供的高性能蝶阀中阀体的结构示意图;
图3为本实用新型提供的高性能蝶阀中阀板的结构示意图;
图4为本实用新型提供的高性能蝶阀中阀板与橡胶垫连接的结构立体示意图一;
图5为本实用新型提供的高性能蝶阀中阀板与橡胶垫连接的结构立体示意图二;
图中序号为:
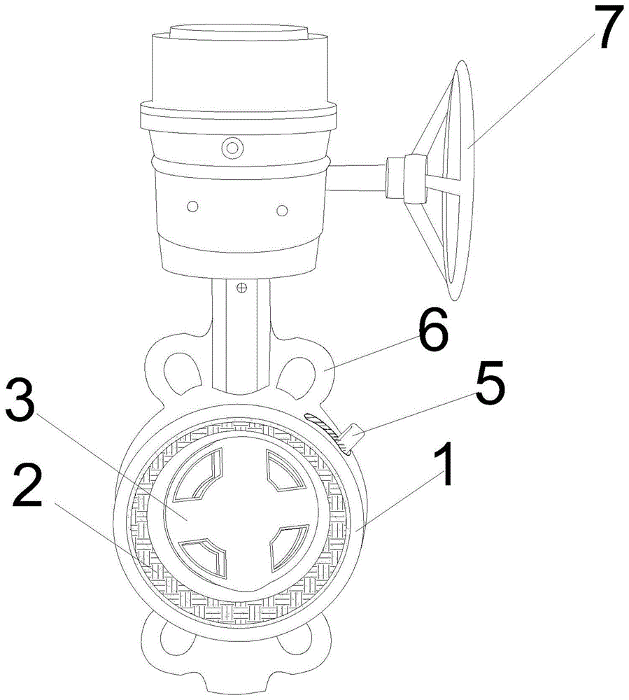
阀体1;阀座2;阀板3;固定板4;阀杆套4-1;橡胶垫把手5;橡胶垫5-1;挂耳6;手动转盘7。
具体实施方式
为使本实用新型更明显易懂,兹以优选实施例,并配合附图作详细说明如下。
图1至图5所示,为本实用新型提供的高性能蝶阀,包括阀体1、阀座2、阀板3;所述阀体1为环状,所述阀体1内套设有阀座2,所述阀板3通过阀杆活动的设于阀座2内,所述阀板3上设有镂空的孔洞,所述阀板3上的孔洞呈扇形分布在阀板的3的表面上,所述孔洞为贯穿孔,所述阀板3的一侧设有橡胶材质的垫片5-1,所述垫片5-1活动的设置在阀板3上,并通过垫片把手5在阀板3上旋转,所述垫片5-1上设有与阀板3对应的贯穿孔洞,阀体(1)上设有5条状孔,所述垫片5-1从该条状孔内露出,当需要打开阀板(3)时,通过橡胶垫把手(5)在阀体(1)上的条状孔内滑动,从而使橡胶的垫片5-1在阀板3上活动,当垫片5-1阀板3上的孔洞一致时,用于气流的穿透,不会使阀门3来回摆动,当垫片5-1阀板3上的孔洞不一致时,由于垫片5-1是橡胶的材质,垫片5-1能起到密封的作用,保证气体不泄漏。
进一步,所述垫片5-1的材质为橡胶垫片;所述阀体1的上下设有挂耳6;所述阀杆通过固定板(4)设置在阀板(3)的另一侧;阀杆上设有阀杆套4-1,起到密封作用;所述阀杆与手动转盘7相连。
需要说明的是,在本文中,术语“包括”、“包含”或者其任何其他变体意在涵盖非排他性的包含,从而使得包括一系列要素的过程、方法、物品或者设备不仅包括那些要素,而且还包括没有明确列出的其他要素,或者是还包括为这种过程、方法、物品或者设备所固有的要素。
以上实施例仅用以说明本实用新型的技术方案,而非对其限制;尽管参照前述实施例对本实用新型进行了详细的说明,本领域的普通技术人员应当理解:其依然可以对前述各实施例所记载的技术方案进行修改,或者对其中部分技术特征进行等同替换;而这些修改或者替换,并不使相应技术方案的本质脱离本实用新型各实施例技术方案的精神和范围。