
本实用新型涉及安全阀技术领域,尤其涉及一种简易止回阀。
背景技术:
安全阀是启闭件受外力作用下处于常闭状态,当设备或管道内的介质压力升高超过规定值时,通过向系统外排放介质来防止管道或设备内介质压力超过规定数值的特殊阀门。安全阀属于自动阀类,主要用于锅炉、压力容器和管道上,控制压力不超过规定值,对人身安全和设备运行起重要保护作用。注安全阀必须经过压力试验才能使用。
止回阀是指依靠介质本身流动而自动开、闭阀瓣,用来防止介质倒流的阀门,又称逆止阀、单向阀、逆流阀、和背压阀。止回阀属于一种自动阀门,其主要作用是防止介质倒流、防止泵及驱动电动机反转,以及容器介质的泄放等。
中国阀门产业链众多,但非阀门强国。总体上去看我国已经迈入了世界阀门大国的行列,但从产品质量来看我国离阀门强国仍有很长的一段差距。行业的生产集中度低、高端产品相配套的阀门研发能力低、阀门行业制造技术水平低等现象仍然存在,进出口贸易逆差不断扩大。
未来几年将是阀门行业的高速震荡期,这种高速震荡带来的直接后果是导致阀门橱柜品牌阵营中两极分化的趋势扩大。预计今后几年真正能够在市场上存活的阀门企业绝对不有这么多。但阀门行业的这种高速震荡将带来巨大的机会,震荡的结果将会使市场运作更加理性。高端阀门的国产化之路异常“坎坷”。基础件已经成为制约我国制造业向高端化发展的短板,十二五期间政府将继续加大对高端装备零部件的国产化力度。此处我们选取《实施方案》里提及的几个重点发展行业具有代表性的阀门进行进口替代的可行性分析。从分析我们可以看出各子行业阀门进口替代可行性差别很大,高端阀门亟待更多的政策引导及科研扶持。阀门行业在国民经济发展中,作为准备制造业的一个重要环节,起到非常重要的作用。由于我国国内阀门制造业水平与国际先进水平相比仍有一定差距,好多高参数、高温高压、高磅级的关键阀门原一直依赖进口,为了力促阀门国产化,在国务院下达的《关于加快振兴装备制造业的若干意见》后,国家有关部门根据国家作出的重大装备国产化的要求,先后作出了一系列重大部署,并由国家发改委牵头,中国机械工业联合会和中国通用机械工业协会一起,部署制订了相关领域重大装备的阀门国产化方案,并多次与有关部门协调,如今阀门国产化在国内阀门行业已形成共识。积极采用国际标准进行产品设计;吸收国外优秀的设计结构;产品试验、性能检验严格按国际标准进行;吸收国外先进生产工艺经验重视新材料的研究及推广应用;弄清进口的高参数阀门产品的技术参数和工况条件等是加快国产化进程,推进阀门产品不断更新,全面实现阀门的国产化的唯一途径。
随着阀门行业重组步伐的加快,未来行业将是阀门产品质量安全和产品品牌之间的竞争,产品向高技术、高参数、耐强腐蚀、高寿命方向发展,只有通过不断的技术创新,开发新产品,进行技术改造,才能逐步提高产品技术水平,满足国内装置配套,全面实现阀门的国产化。我国阀门制造行业在庞大的需求环境下,必将呈现出更好的发展前景。
技术实现要素:
本实用新型的目的是提供一种简易止回阀,通过严密的结构设计和简易的结构布局,使止回阀成为一个结构简单,方便实用的小型结构,能够满足简单的止回阀作用。
本实用新型的技术方案如下:
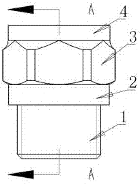
一种简易止回阀,其特征在于:包括圆柱形外螺纹柱,所述外螺纹柱的上方连接圆柱形支撑柱,所述支撑柱的直径大于所述外螺纹柱的直径,所述支撑柱上方设有六边形的六角操作台,所述六角操作台的上方设有圆柱形装配柱,所述装配柱的中心位置设有内螺纹孔,所述内螺纹孔最深度的位置与所述六角操作台内部对应的位置相同,所述内螺纹孔下设有十字形固定架,所述固定架的中心位置设有加固圆柱,所述加固圆柱的中心位置设有四个圆周均匀分布的圆弧形连通腔,所述连通腔下端连接可上下移动的圆柱形连接杆,所述连接杆下端连接半球形活塞体,所述固定架的下端连接截面成L型的圆柱形加固座,所述加固座的中心位置设有圆形开孔,所述活塞体在常规情况下将所述圆形开孔可完全封闭,所述活塞体与所述固定架之间设有弹簧,所述外螺纹柱的底部中心位置设有流体入口,所述流体入口的直径大于所述加固座中心位置的圆形开孔的直径。
进一步的,所述装配柱的高度小于所述支撑柱的高度,所述支撑柱的高度小于所述六角操作台的高度,所述六角操作台的高度小于所述外螺纹柱的高度。
进一步的,所述支撑柱的直径与所述装配柱的直径相同。
进一步的,所述外螺纹柱的螺纹大小与所述内螺纹孔上的螺纹大小相同。
本实用新型的有益效果:
本实用新型结构简单,使用方便,体积更小,应用在简易的止回结构中使用更加灵活,并且止回效果良好,平时的密封性更有保障